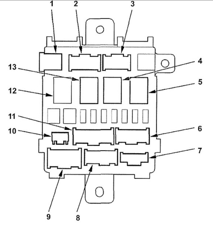
2005 Acura Rl Glove Box Door
"Glove Boxes for Acura RL for sale eBay, GLOVE BOX DOOR Acura RL 2005 05 #23776256, Glove Boxes for Acura RL for sale eBay, Glove Box In Stock Replacement Auto Auto Parts Ready To , Storage Compartment Door BAJA 2005 Glove Box 855692 eBay, Acura RL 2005 2006 wiring diagrams fuse panel , 2002 2008 Audi A4 Glove Box Handle OEM Compartment Door , 04 ACURA TL DASH STORAGE COMPARTMENT LID OEM eBay, Glove Compartment In Stock Replacement Auto Auto Parts , Other for Sale Find or Sell Auto parts, , , , , , , "
Best Post
Popular Post
✔ Golden beach florida
✔ San diego beaches rules
✔ Newport beach california weather by month
✔ Key west public beaches
✔ Cruises out of long beach
✔ Beach wedding dresses las vegas
✔ City of palm beach gardens
✔ Ifly virginia beach
✔ Palm beach cardinals
✔ San diego beaches reddit
✔ Deep sea fishing orange beach
✔ Mini golf virginia beach
✔ Long beach california is in what county
✔ Bowling myrtle beach
Best Post
Popular Post
✔ Used Audi A6 Dallas
✔ Working At Aston Martin
✔ Epc Light Audi S5
✔ Used Bmw For Sale Dayton Ohio
✔ 2020 Audi S7 Canada Price
✔ Bentley Bentayga Toy Car
✔ Bmw Dealer Austin Tx
✔ Audi A3 Sedan Vs Jetta 2019
✔ Alfa Romeo Giulietta White
✔ Bmw 330E 2016
✔ Aston Martin Vanquish Zagato Interior






